Сообщения без ответов | Активные темы
| Автор |
Сообщение |
|
Djenya
|
Добавлено: Ср июл 09, 2014 8:50 pm |
|
 |
| На доске почета |
 |
Зарегистрирован: Вт дек 04, 2012 8:51 pm Сообщения: 1413 Откуда: Алтайский край г.Рубцовск Репутация: 25 [ ? ]
Машина: TOYOTA CALDINA ST191
Год выпуска: 1996
Двигатель: 3S-FE
|
токико левая передняя с нова(с момента установки) стучит, правая нормально держится. 22 шток, менялись одновременно. Продован в магазине сказал что на разрыв токико все стучат, это для них нормально. Машина в поворотах валкая какая-то. Не нравится. Но и каябу ставить не хочу, судя по отзывам фуфла много. Хотя люблю подвеску пожежче. Как найти компромисс? 
_________________ Водитель - самый опасный узел машины. CALDINA ST191 1996г.в. 2,0 ,3s-fe. Nissan Atlas QD32, АКПП, 2000 г.в.
|
|
| Вернуться к началу |
|
 |
|
Евген
|
Добавлено: Ср июл 09, 2014 11:07 pm |
|
 |
| Инопланетный гость Селигера |
 |
Зарегистрирован: Ср янв 28, 2009 11:00 pm Сообщения: 4881 Откуда: Петрозаводск Репутация: 117 [ ? ]
Машина: VW Sharan
Год выпуска: 2004
Двигатель: 1.9TDI, ASZ
|
Оригинал 
_________________ Было: Carina E, 1997, 4A-FE Bosch Motronic; Chevrolet Rezzo, 2007 Стало: VW Sharan 1.9TDI ASZ, 2004 + Ford Transit 2.0 DOHC, 1998, грузопасс
|
|
| Вернуться к началу |
|
 |
|
Djenya
|
Добавлено: Чт июл 10, 2014 8:01 pm |
|
 |
| На доске почета |
 |
Зарегистрирован: Вт дек 04, 2012 8:51 pm Сообщения: 1413 Откуда: Алтайский край г.Рубцовск Репутация: 25 [ ? ]
Машина: TOYOTA CALDINA ST191
Год выпуска: 1996
Двигатель: 3S-FE
|
Евген писал(а): Оригинал  Ценник конячий !!!!! 
_________________ Водитель - самый опасный узел машины. CALDINA ST191 1996г.в. 2,0 ,3s-fe. Nissan Atlas QD32, АКПП, 2000 г.в.
|
|
| Вернуться к началу |
|
 |
|
Евген
|
Добавлено: Чт июл 10, 2014 8:27 pm |
|
 |
| Инопланетный гость Селигера |
 |
Зарегистрирован: Ср янв 28, 2009 11:00 pm Сообщения: 4881 Откуда: Петрозаводск Репутация: 117 [ ? ]
Машина: VW Sharan
Год выпуска: 2004
Двигатель: 1.9TDI, ASZ
|
DjenyaЯ знаю, за полгода до продажи своей на зад инсталлировал опоры со стойками 
_________________ Было: Carina E, 1997, 4A-FE Bosch Motronic; Chevrolet Rezzo, 2007 Стало: VW Sharan 1.9TDI ASZ, 2004 + Ford Transit 2.0 DOHC, 1998, грузопасс
Последний раз редактировалось Евген Чт июл 10, 2014 10:01 pm, всего редактировалось 1 раз.
|
|
| Вернуться к началу |
|
 |
|
lukregion152
|
Добавлено: Чт июл 10, 2014 9:54 pm |
|
 |
| На доске почета |
 |
Зарегистрирован: Вт апр 12, 2011 7:48 pm Сообщения: 1034 Откуда: Нижегородская Лукоянов Репутация: 29 [ ? ]
Машина: Карина Е
Год выпуска: 1996
Двигатель: 4A-FE
|
Djenya писал(а): Продован в магазине сказал что на разрыв токико все стучат, это для них нормально. Странная закономерность - стучат левые стойки. У меня левая задняя стучит. Никак не мог смириться с тем, что стучать может новая стойка. Грешил на опору или стабилизатор. Все поменял. Ан нет. Выходит, что стойка Добавлено спустя 2 минуты 22 секунды:Кстати. Передние тоже Токико новые поставил недавно - не стучат.
_________________ 2101, 21011,ауди-100, хонда-аккорд, гольф-2, крайняя - Toyota Carina E 1,6 4A-FE AT190L-BEMDKW XLI. (IX 1996). ABS, кондей. Сергей Николаевич. Кто в армии служил, тот в цирке не смеется.
|
|
| Вернуться к началу |
|
 |
|
Djenya
|
Добавлено: Пт июл 11, 2014 3:34 pm |
|
 |
| На доске почета |
 |
Зарегистрирован: Вт дек 04, 2012 8:51 pm Сообщения: 1413 Откуда: Алтайский край г.Рубцовск Репутация: 25 [ ? ]
Машина: TOYOTA CALDINA ST191
Год выпуска: 1996
Двигатель: 3S-FE
|
Цитата: Странная закономерность - стучат левые стойки. У меня левая задняя стучит. Никак не мог смириться с тем, что стучать может новая стойка. Грешил на опору или стабилизатор. Все поменял. Ан нет. Выходит, что стойка  Выходит левые стойки токико в китае делают. А правые...........ну наверно тоже в китае, только правыми руками. !!!!!!! 
_________________ Водитель - самый опасный узел машины. CALDINA ST191 1996г.в. 2,0 ,3s-fe. Nissan Atlas QD32, АКПП, 2000 г.в.
|
|
| Вернуться к началу |
|
 |
|
Сергей С@ныч
|
Добавлено: Пт июл 11, 2014 4:36 pm |
|
 |
| Человек-легенда |
 |
Зарегистрирован: Пт окт 22, 2010 11:08 am Сообщения: 8451 Откуда: Лукоянов-Арзамас-Москва Репутация: 135 [ ? ]
Машина: Тойота Авенсис ST220L-AEMEKW
Год выпуска: 2001
Двигатель: 3S-FE
|
|
Я на Карине задние ставил от Токико,ничего не стучало.
_________________ Тойота Авенсис Т-22,3S-FE,S54,DIS-2,седан,выпуск 07.2001,цвет 209,отделка LA 14-02,комплектация Sol. Была Карина Е,4а-фе,стд,1996 год.
|
|
| Вернуться к началу |
|
 |
|
Danilych
|
Добавлено: Пт июл 11, 2014 5:23 pm |
|
 |
| Самостоятельный |
Зарегистрирован: Ср дек 11, 2013 11:50 pm Сообщения: 25 Откуда: Лен.обл.,П.ЛЕСКОЛОВО Репутация: 2 [ ? ]
Машина: CARINA E
Год выпуска: 1995
Двигатель: 3S-FE
|
|
А вот про фирмy Lynx , кто что скажет и может у кого стоят такие стойки?
|
|
| Вернуться к началу |
|
 |
|
Евген
|
Добавлено: Пт июл 11, 2014 7:28 pm |
|
 |
| Инопланетный гость Селигера |
 |
Зарегистрирован: Ср янв 28, 2009 11:00 pm Сообщения: 4881 Откуда: Петрозаводск Репутация: 117 [ ? ]
Машина: VW Sharan
Год выпуска: 2004
Двигатель: 1.9TDI, ASZ
|
|
Вроде WhiteWolf ездит на таких, утверждать не буду, но нечто "оттуда" точно.
_________________ Было: Carina E, 1997, 4A-FE Bosch Motronic; Chevrolet Rezzo, 2007 Стало: VW Sharan 1.9TDI ASZ, 2004 + Ford Transit 2.0 DOHC, 1998, грузопасс
|
|
| Вернуться к началу |
|
 |
|
DImaasBO
|
Добавлено: Сб июл 12, 2014 1:44 pm |
|
 |
| Стажер |
Зарегистрирован: Ср окт 09, 2013 2:54 pm Сообщения: 15 Откуда: Полярный Мурманская обл Репутация: 0 [ ? ]
Машина: Toyota Carina E 1.8
Год выпуска: 1996
Двигатель: 7A-FE
|
|
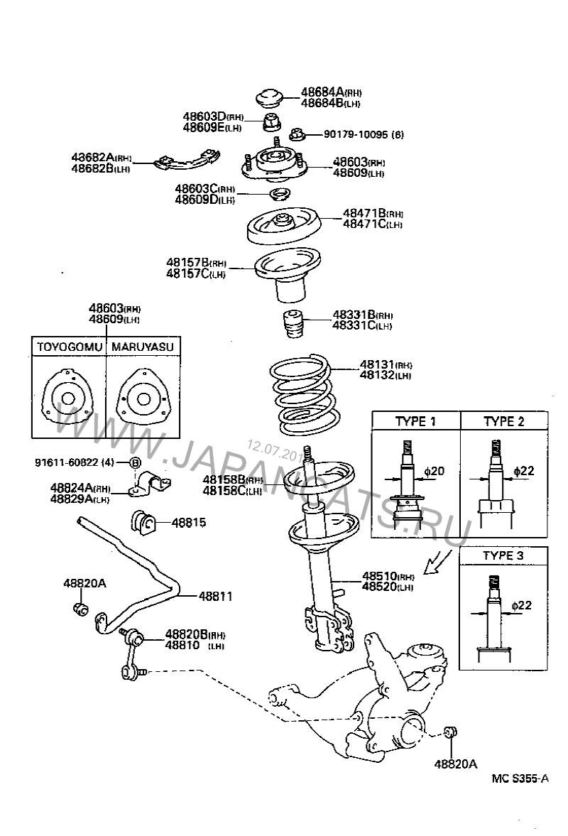
всем здравия,ребят подскажите на картинке шток амортов тип 2 и 3 диамтр один а разница в чём?
| Вложения: |

CImage.png [ 100.26 КБ | Просмотров: 5569 ]
|
|
|
| Вернуться к началу |
|
 |
|
Сергей С@ныч
|
Добавлено: Сб июл 12, 2014 7:27 pm |
|
 |
| Человек-легенда |
 |
Зарегистрирован: Пт окт 22, 2010 11:08 am Сообщения: 8451 Откуда: Лукоянов-Арзамас-Москва Репутация: 135 [ ? ]
Машина: Тойота Авенсис ST220L-AEMEKW
Год выпуска: 2001
Двигатель: 3S-FE
|
20 мм и 22 мм,без разницы,главное чтобы аморт был для англичанки. 
_________________ Тойота Авенсис Т-22,3S-FE,S54,DIS-2,седан,выпуск 07.2001,цвет 209,отделка LA 14-02,комплектация Sol. Была Карина Е,4а-фе,стд,1996 год.
|
|
| Вернуться к началу |
|
 |
|
DImaasBO
|
Добавлено: Сб июл 12, 2014 9:07 pm |
|
 |
| Стажер |
Зарегистрирован: Ср окт 09, 2013 2:54 pm Сообщения: 15 Откуда: Полярный Мурманская обл Репутация: 0 [ ? ]
Машина: Toyota Carina E 1.8
Год выпуска: 1996
Двигатель: 7A-FE
|
[quote="Сергей С@ныч"]20 мм и 22 мм,без разницы,главное чтобы аморт был для англичанки.  там 2 вида амортов с диаметром штока 22!а разница в чём?у себя мерил 22.так какой тип мне нужен 2 или 3.я про это хотел узнать.
|
|
| Вернуться к началу |
|
 |
|
Moroz
|
Добавлено: Сб июл 12, 2014 9:30 pm |
|
 |
| Бригадир |
 |
Зарегистрирован: Пн сен 14, 2009 3:20 pm Сообщения: 176 Откуда: Мурманск Репутация: 5 [ ? ]
Машина: Carina E - вагон
Год выпуска: 1996
Двигатель: 3SFE
|
DImaasBO писал(а): Сергей С@ныч писал(а): 20 мм и 22 мм,без разницы,главное чтобы аморт был для англичанки.  там 2 вида амортов с диаметром штока 22!а разница в чём?у себя мерил 22.так какой тип мне нужен 2 или 3.я про это хотел узнать. На англичанку стойка такая же, но чашка ниже на 1 см, наверно, в этом различие. уже писали об этом выше.
_________________ Carina E 1,6 UK, 1996 г, седан. 4AFE не LB - убили (бегает уже)- была. 3SFE, 1996, UK, GLI, зеленый сарай на палке 
|
|
| Вернуться к началу |
|
 |
|
Сергей С@ныч
|
Добавлено: Вс июл 13, 2014 4:08 am |
|
 |
| Человек-легенда |
 |
Зарегистрирован: Пт окт 22, 2010 11:08 am Сообщения: 8451 Откуда: Лукоянов-Арзамас-Москва Репутация: 135 [ ? ]
Машина: Тойота Авенсис ST220L-AEMEKW
Год выпуска: 2001
Двигатель: 3S-FE
|
Moroz писал(а): но чашка ниже на 1 см И я об этом.
_________________ Тойота Авенсис Т-22,3S-FE,S54,DIS-2,седан,выпуск 07.2001,цвет 209,отделка LA 14-02,комплектация Sol. Была Карина Е,4а-фе,стд,1996 год.
|
|
| Вернуться к началу |
|
 |
|
RePit
|
Добавлено: Ср июл 16, 2014 3:06 pm |
|
 |
| Бригадир |
 |
Зарегистрирован: Ср янв 30, 2013 2:38 pm Сообщения: 210 Откуда: Архангельск Репутация: 3 [ ? ]
Машина: carina e
Год выпуска: 1997
Двигатель: 4A LB
|
|
Кто пробовал стойки в сборе? SHINKAI 110156ASSY Стойка газовая в сборе с пружиной
_________________ sb172abk00e201394, европа, серебро, универсал, люк, без кондея
|
|
| Вернуться к началу |
|
 |
|
Mr_Nuke
|
Добавлено: Чт сен 04, 2014 6:19 pm |
|
 |
| Внесен в большую энциклопедию |
 |
Зарегистрирован: Вс фев 22, 2009 1:54 am Сообщения: 2765 Откуда: Москва, ВАО, Щелковская Репутация: 124 [ ? ]
Машина: Carina E
Год выпуска: 1995
Двигатель: 7A-FE lb
|
Наверное уже во всех темах про стойки и пружины отписался за последнюю неделю Harsh Road Package(комплект для неровных дорог) - не пойму, мягкие стойки или наоборот, жесткие? Может быть расценено по разному: мягкие, т.к. дорога неровная, и что бы особо не трясло. Или же жесткие, т.к. мягкие все время колбасить будет, и менять их придется очень часто
|
|
| Вернуться к началу |
|
 |
|
Сергей С@ныч
|
Добавлено: Чт сен 04, 2014 6:22 pm |
|
 |
| Человек-легенда |
 |
Зарегистрирован: Пт окт 22, 2010 11:08 am Сообщения: 8451 Откуда: Лукоянов-Арзамас-Москва Репутация: 135 [ ? ]
Машина: Тойота Авенсис ST220L-AEMEKW
Год выпуска: 2001
Двигатель: 3S-FE
|
|
Я так понимаю что пакет для плохих дорог это более износостойкие стойки.
_________________ Тойота Авенсис Т-22,3S-FE,S54,DIS-2,седан,выпуск 07.2001,цвет 209,отделка LA 14-02,комплектация Sol. Была Карина Е,4а-фе,стд,1996 год.
|
|
| Вернуться к началу |
|
 |
|
Mr_Nuke
|
Добавлено: Чт сен 04, 2014 6:30 pm |
|
 |
| Внесен в большую энциклопедию |
 |
Зарегистрирован: Вс фев 22, 2009 1:54 am Сообщения: 2765 Откуда: Москва, ВАО, Щелковская Репутация: 124 [ ? ]
Машина: Carina E
Год выпуска: 1995
Двигатель: 7A-FE lb
|
Сергей С@ныч писал(а): более износостойкие То бишь жесткие? Я тоже так думал. А вот поискал по форуму, и многие называют стойки без этого префикса - усиленными. То есть с этим префиксом - это мягкие. Чушь какая-то Говорю сейчас про Tokico B3145/46 и B3161/62. Последние идут с префиксом
|
|
| Вернуться к началу |
|
 |
|
Djenya
|
Добавлено: Чт сен 04, 2014 7:04 pm |
|
 |
| На доске почета |
 |
Зарегистрирован: Вт дек 04, 2012 8:51 pm Сообщения: 1413 Откуда: Алтайский край г.Рубцовск Репутация: 25 [ ? ]
Машина: TOYOTA CALDINA ST191
Год выпуска: 1996
Двигатель: 3S-FE
|
Добавлено спустя 1 минуту 6 секунд:Цитата: Чушь какая-то 
_________________ Водитель - самый опасный узел машины. CALDINA ST191 1996г.в. 2,0 ,3s-fe. Nissan Atlas QD32, АКПП, 2000 г.в.
|
|
| Вернуться к началу |
|
 |
|
Сергей С@ныч
|
Добавлено: Чт сен 04, 2014 7:07 pm |
|
 |
| Человек-легенда |
 |
Зарегистрирован: Пт окт 22, 2010 11:08 am Сообщения: 8451 Откуда: Лукоянов-Арзамас-Москва Репутация: 135 [ ? ]
Машина: Тойота Авенсис ST220L-AEMEKW
Год выпуска: 2001
Двигатель: 3S-FE
|
|
Я не говорил про жёсткость,на кой ляд на плохих дорогах жёсткие стойки?Чтобы каждую колдобину прочувствовать?
_________________ Тойота Авенсис Т-22,3S-FE,S54,DIS-2,седан,выпуск 07.2001,цвет 209,отделка LA 14-02,комплектация Sol. Была Карина Е,4а-фе,стд,1996 год.
|
|
| Вернуться к началу |
|
 |
|
Djenya
|
Добавлено: Чт сен 04, 2014 7:12 pm |
|
 |
| На доске почета |
 |
Зарегистрирован: Вт дек 04, 2012 8:51 pm Сообщения: 1413 Откуда: Алтайский край г.Рубцовск Репутация: 25 [ ? ]
Машина: TOYOTA CALDINA ST191
Год выпуска: 1996
Двигатель: 3S-FE
|
|
_________________ Водитель - самый опасный узел машины. CALDINA ST191 1996г.в. 2,0 ,3s-fe. Nissan Atlas QD32, АКПП, 2000 г.в.
|
|
| Вернуться к началу |
|
 |
|
Mr_Nuke
|
Добавлено: Чт сен 04, 2014 7:56 pm |
|
 |
| Внесен в большую энциклопедию |
 |
Зарегистрирован: Вс фев 22, 2009 1:54 am Сообщения: 2765 Откуда: Москва, ВАО, Щелковская Репутация: 124 [ ? ]
Машина: Carina E
Год выпуска: 1995
Двигатель: 7A-FE lb
|
Сергей С@ныч писал(а): Я не говорил про жёсткость Тогда что ты имел введу? Износостойкость сама по себе не приходит. И имхо появляется в ущерб комфорту
|
|
| Вернуться к началу |
|
 |
|
Mr_Nuke
|
Добавлено: Пт сен 05, 2014 7:16 pm |
|
 |
| Внесен в большую энциклопедию |
 |
Зарегистрирован: Вс фев 22, 2009 1:54 am Сообщения: 2765 Откуда: Москва, ВАО, Щелковская Репутация: 124 [ ? ]
Машина: Carina E
Год выпуска: 1995
Двигатель: 7A-FE lb
|
Про Harsh Road Package написал в техподдержку Tokico. Я писал(а): What does harsh road package means? Does it mean more soft and comfortable shock absorbers or reinforced and stiff ones? Техподдержка писал(а): Regarding harsh road package is more of a stiff to uncomfortable ride sometime. Я писал(а): Thanks for your answer, but I did not completely understood you. If I ride on a harsh road with harsh road package shock absorbers, will it be more comfortable for me, than riding on a harsh road with a regular tokico shock absorbers? Техподдержка писал(а): Our shocks will give you a better smoother & comfortable control ride feel. If you have bad road condition you will have a little bumpy ride. На сколько я понял своим кривым английским, Harsh Road Package значит мягкие, а без этого префикса получается усиленные.
|
|
| Вернуться к началу |
|
 |
|
Mr_Nuke
|
Добавлено: Сб сен 06, 2014 7:37 pm |
|
 |
| Внесен в большую энциклопедию |
 |
Зарегистрирован: Вс фев 22, 2009 1:54 am Сообщения: 2765 Откуда: Москва, ВАО, Щелковская Репутация: 124 [ ? ]
Машина: Carina E
Год выпуска: 1995
Двигатель: 7A-FE lb
|
|
Пыльники передних амортизаторов - это вот эти? 48157-05010 Уж слишком сильно по виду отличаются от задних
|
|
| Вернуться к началу |
|
 |
|
Aleksey R
|
Добавлено: Сб сен 06, 2014 7:50 pm |
|
 |
| Инструктор |
 |
Зарегистрирован: Сб окт 08, 2011 7:24 pm Сообщения: 312 Откуда: Украина Репутация: 4 [ ? ]
Машина: Carina E
Год выпуска: 1995
Двигатель: 3S-FE
|
Mr_Nuke писал(а): Пыльники передних амортизаторов - это вот эти? 48157-05010 Либо эти 48157-20130, без разницы Mr_Nuke писал(а): Уж слишком сильно по виду отличаются от задних Так и должно быть
_________________ Toyota Carina E 3S-FE,мкпп, лифтбек,цвет 205,кондиционер
|
|
| Вернуться к началу |
|
 |
Кто сейчас на конференции |
Сейчас этот форум просматривают: нет зарегистрированных пользователей и гости: 22 |
|
Вы не можете начинать темы Вы не можете отвечать на сообщения Вы не можете редактировать свои сообщения Вы не можете удалять свои сообщения Вы не можете добавлять вложения
|
|