Сообщения без ответов | Активные темы
|
sergey_ch
|
Добавлено: Сб авг 06, 2011 8:45 pm |
|
 |
| Студент |
Зарегистрирован: Сб авг 06, 2011 7:07 pm Сообщения: 4 Репутация: 0 [ ? ]
|
|
На мои вопросы там ответа не нашёл, к сожалению.
Точнее на второй вопрос нашёл там частичный ответ - бывают рейки ZF и японские.
А мне в магазине по тлф сказали, что на британки бывают германские(ZF) и итальянские. Т.к. я полный чайник в этом, то и задал такой вопрос, поверив продавцу.
А на первый вопрос что скажите (про Китайские производство)?
|
|
| Вернуться к началу |
|
 |
|
Dimon_2C
|
Добавлено: Сб авг 06, 2011 9:42 pm |
|
 |
| Внесен в большую энциклопедию |
Зарегистрирован: Вт май 05, 2009 10:33 am Сообщения: 2906 Откуда: город_32 Репутация: 58 [ ? ]
Машина: Car-E->M6-GH wagon
Год выпуска: 2008
|
|
sergey_ch
Можно и японскую поставить, необязательно именно ZF...
_________________ С уважением к форуму
|
|
| Вернуться к началу |
|
 |
|
sergey_ch
|
Добавлено: Сб авг 06, 2011 10:10 pm |
|
 |
| Студент |
Зарегистрирован: Сб авг 06, 2011 7:07 pm Сообщения: 4 Репутация: 0 [ ? ]
|
Dimon_2C писал(а): Можно и японскую поставить, необязательно именно ZF...
Как я понял из обсуждений в другой ветке, есть одно НО - придётся менять и рулевые наконечники. Так? Или рулевые тяги (может не верно обозвал их)? Или и то и другое?
|
|
| Вернуться к началу |
|
 |
|
Dimon_2C
|
Добавлено: Сб авг 06, 2011 10:43 pm |
|
 |
| Внесен в большую энциклопедию |
Зарегистрирован: Вт май 05, 2009 10:33 am Сообщения: 2906 Откуда: город_32 Репутация: 58 [ ? ]
Машина: Car-E->M6-GH wagon
Год выпуска: 2008
|
sergey_ch писал(а): Dimon_2C писал(а): Можно и японскую поставить, необязательно именно ZF... Как я понял из обсуждений в другой ветке, есть одно НО - придётся менять и рулевые наконечники. Так? Или рулевые тяги (может не верно обозвал их)? Или и то и другое?
Возможно, все дело в резьбе на валу рейки. Я себе когда менял купил комплект тяг и наконечников от япошки, но это совсем не проблема я считаю...
_________________ С уважением к форуму
|
|
| Вернуться к началу |
|
 |
|
Mr_Nuke
|
Добавлено: Сб авг 06, 2011 10:46 pm |
|
 |
| Внесен в большую энциклопедию |
 |
Зарегистрирован: Вс фев 22, 2009 1:54 am Сообщения: 2765 Откуда: Москва, ВАО, Щелковская Репутация: 124 [ ? ]
Машина: Carina E
Год выпуска: 1995
Двигатель: 7A-FE lb
|
|
sergey_ch
кстати, ты откуда??
|
|
| Вернуться к началу |
|
 |
|
sergey_ch
|
Добавлено: Вс авг 07, 2011 9:48 am |
|
 |
| Студент |
Зарегистрирован: Сб авг 06, 2011 7:07 pm Сообщения: 4 Репутация: 0 [ ? ]
|
Dimon_2C писал(а): Я себе когда менял купил комплект тяг и наконечников от япошки, но это совсем не проблема я считаю... Ну да, если по другому не получится, то придётся менять на японскую. Mr_Nuke писал(а): кстати, ты откуда??
В 230 км на север от Екатеринбурга, г. Нижняя Тура.
У нас тут ничего в продаже нет, приходится заказывать в Ебург.
|
|
| Вернуться к началу |
|
 |
|
Dmitriy
|
Добавлено: Вт авг 09, 2011 5:54 pm |
|
 |
| Инструктор |
 |
Зарегистрирован: Вс янв 10, 2010 6:40 pm Сообщения: 280 Откуда: Vyazma Репутация: 20 [ ? ]
|
sergey_ch писал(а): И второе, грят, что рейки на британки бывают разной сборки - немецкие и итальянские, к тому же по креплениям они разные. Поясните, плз, и тут - это действительно так? У меня Карина Е 1995 г., движок 1.6 - 4А Говорят кур доят, те кто это тебе лялякает не понимают ничего. Рейки либо ЗФ либо Тойода, а "итальянские" это ЗФ восстановленные и называется хфирма "Дженерал Рикамби", а в оберточке будет восстановленная ЗФ. сАМ СЕБЕ ТАКУЮ ПОКУПАЛ. Кстати у меня есть восстановленная рейка ЗФ дешевле чем тебе предлагают и с гарантией.
_________________ Carina E, 4A-FE не LB, 1997г. XLi sedan, сыный. ПРОДАНА 
|
|
| Вернуться к началу |
|
 |
|
Lestat
|
Добавлено: Чт авг 18, 2011 10:24 pm |
|
 |
| Самостоятельный |
 |
Зарегистрирован: Сб май 02, 2009 12:44 pm Сообщения: 40 Откуда: Стерлитамак Репутация: 1 [ ? ]
Машина: TOYOTA CARINA E
Год выпуска: 1995
Двигатель: 4A-FE, LB
|
Собственно если кому интересно, я сделал свое авто и все таки нашел злополучный сальник (0770 080 423)! производитель, типа ZF и артикул нужный выбит да и цена типа немецкая - 500р. поставили мне этот сальник и вроде как все хорошо. время покажет. вот контакты человека который помог в этом: Исмагилов Артур Фаилевич (Республика Башкортостан, город Уфа) 8-917-353-38-61 master-gur@mail.ruзанимаются как раз таки сальниками и ремкомплектами на иномарки. надеюсь информация кому нидь пригодится, землякам хотя бы! удачи на дорогах!
_________________ CARINA E(UKP), 4AFE, 1995, MANUAL TRANSMISSION, XL TYPE, LIFTBACK, LB.
|
|
| Вернуться к началу |
|
 |
|
rudakovaleks1
|
Добавлено: Пт авг 19, 2011 12:42 am |
|
 |
| Бригадир |
 |
Зарегистрирован: Пн мар 28, 2011 11:23 pm Сообщения: 206 Откуда: Краснодарский кр. г. Ейск Репутация: 3 [ ? ]
|
Lestat +1 что не забыл про всех с такой проблемой! 
_________________  Была Carina E, 1996г, 3S-FE, МТ,conditioner, liftback, черный металлик, англичанка Сейчас Рафчик трудяга. 
|
|
| Вернуться к началу |
|
 |
|
Primo4ka_78
|
Добавлено: Пт авг 19, 2011 9:36 am |
|
 |
| Бригадир |
 |
Зарегистрирован: Вс сен 28, 2008 11:54 am Сообщения: 198 Откуда: г.ХИМКИ, МО Репутация: 4 [ ? ]
|
Накупил я всяких «вкусностей» для подвески передней, и встал вопрос о правильно выставленном вале червяка на рейке во время предыдущей переборки рулевой рейки (Вопрос №1). Во многих тематических форумах интернета пишут об углублениях (заводских) на валу червяка, как его необходимо выставлять при сборке рейки. Есть ли у нас такое? Первый раз разобрав рейку, по дурости своей не ставил меток на этом валу, и соответственно собрал «как собралось». За почти 4 (может 3) года не знал горя, пока снова не застучало в районе рейки. И встал вопрос о правильности первоначальной сборки. Ведь если неправильно собрать червяк относительно вала рейки, то наверно не правильно встанут перепускные отверстия жидкости на червяке, и соответственно насос ГУРа будет работать всегда на износ. А теперь , уважаемые, вопрос №2. Снятый с машины рулевой механизм устанавливаем обратно на место. Теоретически устанавливаем выход вала в средние положения и считаем что это наш «0». Рулевые тяги и наконечники новые (значит выставлены примерно). Рулевое колесо тоже в произвольной форме (на точность не претендую, да и не надо особо при механическом аир-беге). Реально ли в таком варианте, если важно для червяка первоначальный НОЛЬ, всё выставить при сходе/развале. Мастера левое плечо и правое рулевых тяг и наконечников делают по расстоянию одинаковым? Или как получится!!! Или опять же они смотрят на рулевое колесо, которое изначально стоит криво уже! Помогите, хочется уж хорошо всё собрать, забот и так хватает, чтобы снова переделывать. 
| Вложения: |

Сборка-разборка ГУРа 462.jpg [ 450.04 КБ | Просмотров: 16241 ]
|
_________________ 4A-FE 1,6 LB, XLi extra, Англия, 1994 red
|
|
| Вернуться к началу |
|
 |
|
Primo4ka_78
|
Добавлено: Пт авг 19, 2011 11:43 am |
|
 |
| Бригадир |
 |
Зарегистрирован: Вс сен 28, 2008 11:54 am Сообщения: 198 Откуда: г.ХИМКИ, МО Репутация: 4 [ ? ]
|
Видимо никто не заморачивается взаимным положением червяка относительно середины рейки вала. Странно 
_________________ 4A-FE 1,6 LB, XLi extra, Англия, 1994 red
|
|
| Вернуться к началу |
|
 |
|
Beso
|
Добавлено: Пт авг 19, 2011 12:14 pm |
|
 |
| Он знает о машинах все, ex-Модератор. |
 |
Зарегистрирован: Пт ноя 30, 2007 7:08 pm Сообщения: 11065 Откуда: SPb Репутация: 224 [ ? ]
|
|
Ты как-то не слишком верно представляешь себе принцип работы системы ГУР. Почему же ГУР работает на износ, если руль неподвижен относительно колёс, будучи повёрнутым на некоторый угол относительно прямого положения колёс? А ведь ты именно так всё описываешь...
_________________ Не надо верить всякой херне, которая у меня над аватаркой написана.
|
|
| Вернуться к началу |
|
 |
|
Primo4ka_78
|
Добавлено: Пт авг 19, 2011 2:17 pm |
|
 |
| Бригадир |
 |
Зарегистрирован: Вс сен 28, 2008 11:54 am Сообщения: 198 Откуда: г.ХИМКИ, МО Репутация: 4 [ ? ]
|
|
Вот так понимаю принцип работа ГУРа: когда колеса прямо и отверстия в червяке соосно трубочкам высокого давления - то насос работает почти в холостую, и жидкость по давлению выравнена. Но это при условии что червяк по отношению к самой рейке выставлен ПРАВИЛЬНО. Вот я и хочу узнать - а если колеса стоят ровно, но червяк с отверстиями для жидкости повернут в любую сторону. То при таком раскладе давление жидкости, создаваемое насосом не одинаково в рейке.
_________________ 4A-FE 1,6 LB, XLi extra, Англия, 1994 red
|
|
| Вернуться к началу |
|
 |
|
Beso
|
Добавлено: Пт авг 19, 2011 2:31 pm |
|
 |
| Он знает о машинах все, ex-Модератор. |
 |
Зарегистрирован: Пт ноя 30, 2007 7:08 pm Сообщения: 11065 Откуда: SPb Репутация: 224 [ ? ]
|
|
Неверно ты понимаешь.
_________________ Не надо верить всякой херне, которая у меня над аватаркой написана.
|
|
| Вернуться к началу |
|
 |
|
Primo4ka_78
|
Добавлено: Пт авг 19, 2011 2:41 pm |
|
 |
| Бригадир |
 |
Зарегистрирован: Вс сен 28, 2008 11:54 am Сообщения: 198 Откуда: г.ХИМКИ, МО Репутация: 4 [ ? ]
|
Beso писал(а): Неверно ты понимаешь. Только хочу узнать: при сборке/разборке рейки устанавливать вал червяка в любом положении значит? На счет этого в книжках ни слова 
_________________ 4A-FE 1,6 LB, XLi extra, Англия, 1994 red
|
|
| Вернуться к началу |
|
 |
|
Beso
|
Добавлено: Пт авг 19, 2011 2:48 pm |
|
 |
| Он знает о машинах все, ex-Модератор. |
 |
Зарегистрирован: Пт ноя 30, 2007 7:08 pm Сообщения: 11065 Откуда: SPb Репутация: 224 [ ? ]
|
|
Ну вот практически так оно и есть.
_________________ Не надо верить всякой херне, которая у меня над аватаркой написана.
|
|
| Вернуться к началу |
|
 |
|
Primo4ka_78
|
Добавлено: Пт авг 19, 2011 3:05 pm |
|
 |
| Бригадир |
 |
Зарегистрирован: Вс сен 28, 2008 11:54 am Сообщения: 198 Откуда: г.ХИМКИ, МО Репутация: 4 [ ? ]
|
|
Разберу рейку с золотниковым устройством, посмотрю в живую. Я уверен что положение важнО для правильной работы системы в целом и чтобы колеса сами не поворачивались в нейтрали от излишнего давления жидкости в полости рейки.
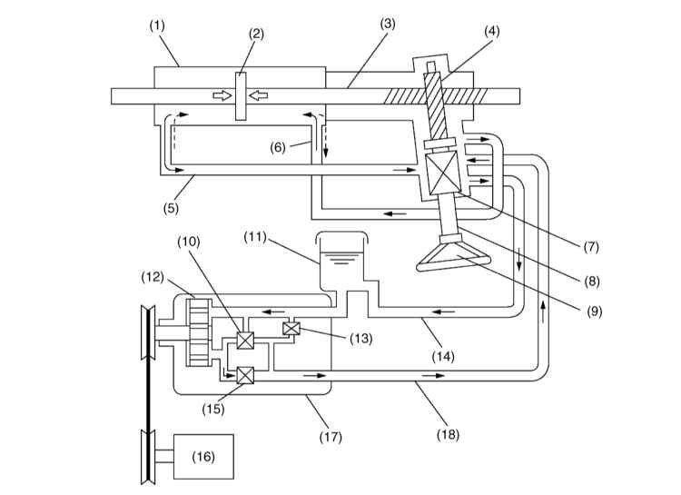
Добавлено спустя 1 минуту 17 секунд: функциональная схема работы гидроусилителя
Добавлено спустя 32 секунды: 1 — Силовой цилиндр 2 — Поршень рулевой рейки 3 — Шток рулевой рейки 4 — Вал ведущей шестерни 5 — Трубка А 6 — Трубка В 7 — Роторный управляющий клапан 8 — Рулевой вал 9 — Рулевое колесо 10 — Чувствительный к изменениям давления клапан 11 — Резервуар гидравлической жидкости 12 — Шиберный насос 13 — Редукционный клапан 14 — Шланг В 15 — Клапан регулировки расхода 16 — Двигатель 17 — Насосная сборка 18 — Шланг А 19 — Камера А 20 — Камера В
| Вложения: |

img5.gif [ 65.08 КБ | Просмотров: 16197 ]
|
_________________ 4A-FE 1,6 LB, XLi extra, Англия, 1994 red
|
|
| Вернуться к началу |
|
 |
|
Beso
|
Добавлено: Пт авг 19, 2011 3:11 pm |
|
 |
| Он знает о машинах все, ex-Модератор. |
 |
Зарегистрирован: Пт ноя 30, 2007 7:08 pm Сообщения: 11065 Откуда: SPb Репутация: 224 [ ? ]
|
Ну раз ты только всё сам должен разобрать, чтобы понять, то давай. Людям обычно книжки и ответы других людей тоже годятся для обучения... ЗЫ: подними морду машины на домкрате, дабы не действовал стабилизирующий момент от наклона оси поворота, выверни колёса вправо или влево и заведи мотор. Нехай насос ГУРа вращается и гоняет АТФ-ку. Что увидишь? Колёса под действием разницы давлений в полостях картера рулевого механизма сами в "нейтраль встанут"? Впрочем, что я, в самом деле... Ты ж пока не разберёшь, не поймёшь, что распределитель работает не от положения шестерни относительно картера рейки, а от сдвига шлицевого валика относительно шестерни за счёт скручивания торсиона... Добавлено спустя 3 минуты 39 секунд:Primo4ka_78 писал(а): функциональная схема работы гидроусилителя Йа-йа. Вот и узнай, как именно устроен узел номер 7. Что не от положения, а от усилия сдвига он работает. И бывает торсионным или работающим на осевом сдвиге за счёт косозубого зацепления и подпружиненной с обеих сторон нейтрали."нейтрали"
_________________ Не надо верить всякой херне, которая у меня над аватаркой написана.
|
|
| Вернуться к началу |
|
 |
|
Primo4ka_78
|
Добавлено: Пт авг 19, 2011 3:16 pm |
|
 |
| Бригадир |
 |
Зарегистрирован: Вс сен 28, 2008 11:54 am Сообщения: 198 Откуда: г.ХИМКИ, МО Репутация: 4 [ ? ]
|
"Beso"Не ругайся. Действительно не могу въехать в принцип работы. Много перерыл инфы. И торсиона не могу найти, где он прячется Неужели действительно когда воздействия нет на вал рулевой - то и жидкость сливается в обратку, не действуя на рейку? Так значит неважно положение вала золотника при сборке Поправь пожалуйста, а то пятница уже, не соображу... Добавлено спустя 2 минуты 27 секунд:Beso писал(а): Йа-йа. Вот и узнай, как именно устроен узел номер 7. Что не от положения, а от усилия сдвига он работает. И бывает торсионным или работающим на осевом сдвиге за счёт косозубого зацепления и подпружиненной с обеих сторон нейтрали."нейтрали" Пойду-ка за кружкой с кофе 
_________________ 4A-FE 1,6 LB, XLi extra, Англия, 1994 red
|
|
| Вернуться к началу |
|
 |
|
Beso
|
Добавлено: Пт авг 19, 2011 3:19 pm |
|
 |
| Он знает о машинах все, ex-Модератор. |
 |
Зарегистрирован: Пт ноя 30, 2007 7:08 pm Сообщения: 11065 Откуда: SPb Репутация: 224 [ ? ]
|
Primo4ka_78 писал(а): действительно когда воздействия нет на вал рулевой - то и жидкость сливается в обратку, не действуя на рейку? Именно так! И именно поэтому только в крайних положениях (или при упоре в неподвижное препятствие в промежуточных положениях) слышно работу редукционного клапана в насосе.а пока усилия между рулём и шестернёй/рейкой нет - распределитель в нейтральном положении, жижа гоняется без сопротивления почти через обратку.
_________________ Не надо верить всякой херне, которая у меня над аватаркой написана.
|
|
| Вернуться к началу |
|
 |
|
Primo4ka_78
|
Добавлено: Пт авг 19, 2011 3:25 pm |
|
 |
| Бригадир |
 |
Зарегистрирован: Вс сен 28, 2008 11:54 am Сообщения: 198 Откуда: г.ХИМКИ, МО Репутация: 4 [ ? ]
|
Beso писал(а): Именно так! И именно поэтому только в крайних положениях (или при упоре в неподвижное препятствие в промежуточных положениях) слышно работу редукционного клапана в насосе.а пока усилия между рулём и шестернёй/рейкой нет - распределитель в нейтральном положении, жижа гоняется без сопротивления почти через обратку. ГЕНИАЛЬНО 
_________________ 4A-FE 1,6 LB, XLi extra, Англия, 1994 red
|
|
| Вернуться к началу |
|
 |
|
Serik34
|
Добавлено: Сб авг 27, 2011 1:45 pm |
|
 |
| Бригадир |
 |
Зарегистрирован: Вт сен 28, 2010 5:17 pm Сообщения: 185 Откуда: Волгоград Репутация: 2 [ ? ]
|
|
подскажите я вот когда руль поворачиваю влево всё тихо. А вот вправо и то не всегда звук как будто колесо задевает об что-то, но колесо снимал на 100% уверен, что оно не чиркает. Сидя в машине поворачивая руль и прислушиваясь к рулю как будто внутри там что-то поскрипывает, что может быть? На что обратить внимание?
_________________ дв. 1.8, 7А LB, 1996г., англичанка, МКПП, конд. куплю передний правый брызговик!
|
|
| Вернуться к началу |
|
 |
|
voldemarik
|
Добавлено: Сб авг 27, 2011 2:46 pm |
|
 |
| Человек-легенда |
 |
Зарегистрирован: Чт дек 13, 2007 1:30 pm Сообщения: 8353 Репутация: 40 [ ? ]
Машина: carina e
Год выпуска: 1995
|
Serik34 писал(а): Сидя в машине поворачивая руль и прислушиваясь к рулю как будто внутри там что-то поскрипывает, что может быть? На что обратить внимание? Если скрип из под капота, возможно что скрипит втулка, которая крепить рулевую рейку с помощью хомута.
|
|
| Вернуться к началу |
|
 |
|
Serik34
|
Добавлено: Сб авг 27, 2011 9:52 pm |
|
 |
| Бригадир |
 |
Зарегистрирован: Вт сен 28, 2010 5:17 pm Сообщения: 185 Откуда: Волгоград Репутация: 2 [ ? ]
|
|
А её заменить можно? если да, то где она именно находится?
_________________ дв. 1.8, 7А LB, 1996г., англичанка, МКПП, конд. куплю передний правый брызговик!
|
|
| Вернуться к началу |
|
 |
Кто сейчас на конференции |
Сейчас этот форум просматривают: нет зарегистрированных пользователей и гости: 10 |
|
Вы не можете начинать темы Вы не можете отвечать на сообщения Вы не можете редактировать свои сообщения Вы не можете удалять свои сообщения Вы не можете добавлять вложения
|
|